page 1
page 2
page 3
page 4
page 5
page 6
page 7
page 8
page 9
page 10
page 11
page 12
page 13
page 14
page 15
page 16
page 17 page 18
page 19
page 20
page 21
page 22
page 23
page 24
page 25
< prev - next > Energy Hydro power Layout_and_construction_of_canals (Printable PDF)
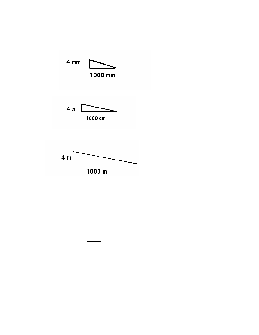
Example 2: If the platform slope is 4 per thousand, there will be a difference in
elevation of:
a) 4 mm every 1000 mm horizontally
b) In centimetres: 4 cm every 1000 cm horizontally
c) In metres: 4m every 1000 metres horizontally
Equivalence between the slope and fractions or decimal numbers
Example:
2 percent =
2 = 0.02
100
1.5 percent =
1.5 = 0.015
100
2 per thousand =
2 = 0.002
1000
3.5 per thousand = 3.5 =
1000
etc-
0.0035
17