page 1
page 2
page 3
page 4
page 5
page 6
page 7
page 8
page 9
page 10
page 11
page 12
page 13
page 14
page 15
page 16 page 17
page 18
page 19
page 20
page 21
page 22
page 23
page 24
page 25
< prev - next > Energy Hydro power Layout_and_construction_of_canals (Printable PDF)
b is the inner border, where slope run-off material is deposited rather than
directly into the canal channel. The channel is thus prevented from overflowing
its banks, causing the canal to slide or break and eroding the soil beneath the
platform.
b’ is the outer border, usually used as a pathway for people, animals, small
motor vehicles (motorcycles) etc. to transport and/or prepare concrete mixes for
lining the canal, etc.
Example: If the platform base of a trapezoidal section of canal is 0.90m, the
width of the platform must be no less than:
A = 0.50 + 0.90 + 1.20 = 2.60m
The length of the platform is usually determined from the intake weir to the
forebay tank.
The gradient of the platform must coincide with the canal slope throughout its
entire length.The slope is graded in percent or in parts per thousand.
Gradient is calculated by dividing the difference in elevation between two points
and the horizontal distance between them.
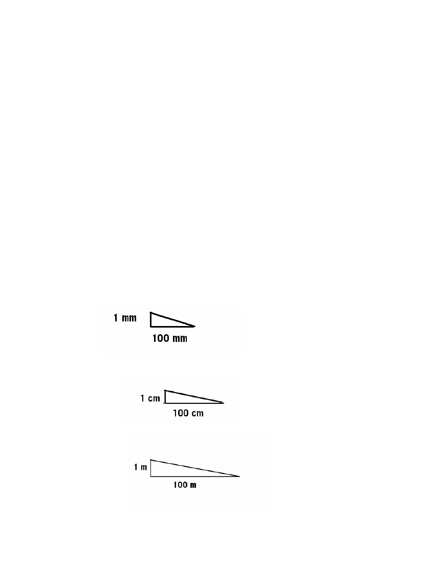
Example: Say the platform will be drawn with a 1 percent slope, then the
difference in elevation will be:
a) In millimetres: 1mm every 100mm horizontally.
.
b) In centimetres: 1 cm every 100 cm horizontally
c) In metres: 1 m every 100 m
16